ASME B18.2.3.4M metrische zeskantflensbouten
Product: ASME B18.2.3.4M metrische zeskantflensbouten
Eigendomsklasse: 4.6,4.8,5.6,5.8,8.8,10.9,12.9,A2-70, A4-70,A4-80
Afwerking: verzinkt (geel zink, zinkblauw, spoelkleur), zwart, fosfaat en olie, zinkfosfaat, thermisch verzinkt (HDG), Dacromet, Geomet
Materiaal: staal
Exportland: VS, Japan, Australië, Europa enzovoort
Ondersteuning van klantaanpassing
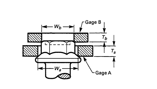
ASME B18.2.3.4M is een standaard ontwikkeld door de American Society of Mechanical Engineers (ASME) die de maat, het materiaal, de prestaties en andere vereisten van zeskantflensbouten specificeert. De kop van de bout is zeshoekig ontworpen, wat handig is om vast te draaien met gereedschap zoals sleutels en schroevendraaiers. Onder de kop van de bout bevindt zich een vergroot flensoppervlak (ook wel lageroppervlak of pakkingoppervlak genoemd). Dit flensoppervlak maakt gewoonlijk contact met het oppervlak van de flens of andere verbindingsdelen om een groter contactoppervlak te verschaffen, waardoor het draagvermogen en de afdichtingsprestaties van de verbinding worden vergroot.
Afbeeldingen
Productkoptekening
Productkopspecificatie
Kokhalzen van het hoofd |
M5 |
M6 |
M8 |
M10 |
M12 |
M14 |
M16 |
|
Wa |
maximaal |
8.09 |
9.25 |
11.56 |
15.02 |
17.33 |
20.79 |
24.26 |
min |
8.08 |
9.24 |
11.55 |
15.01 |
17.32 |
20.78 |
24.25 |
|
Ta |
maximaal |
2.30 |
2,90 |
3,80 |
4.30 |
5.40 |
5.60 |
6,80 |
min |
2.29 |
2,89 |
3,79 |
4.29 |
5.39 |
5.59 |
6,79 |
|
Wb |
maximaal |
7.43 |
8.55 |
10.79 |
14.07 |
16.31 |
19.67 |
22.57 |
min |
7.42 |
8.54 |
10.78 |
14.06 |
16.30 uur |
19.66 |
22.56 |
|
Tb min |
3.0 |
3.0 |
4.0 |
4.0 |
5,0 |
5,0 |
6,0 |
|
Ondersteuning van klantaanpassing |
||||||||
Producttype-F-tekening
Producttype-FSpecificatie
Maat type F |
M5 |
M6 |
M8 |
M10 |
M12 |
M14 |
M16 |
|
Da max |
5.7 |
6.8 |
9.2 |
11.2 |
13.7 |
15.7 |
17.7 |
|
Da min |
in het kort |
5.1 |
6.2 |
8.3 |
10.2 |
12.2 |
14.1 |
16.5 |
Ds min |
in het kort |
4.36 |
5.21 |
7.04 |
8.86 |
10.68 |
12.50 uur |
14.50 uur |
Max |
voor lang |
1.4 |
1.6 |
2.1 |
2.1 |
2.1 |
2.1 |
3.2 |
in het kort |
0,7 |
0,9 |
1.1 |
1.2 |
1.3 |
1.4 |
1.6 |
|
R1 min |
0,2 |
0,25 |
0,4 |
0,4 |
0,6 |
0,6 |
0,6 |
|
Ondersteuning van klantaanpassing |
||||||||
Producttype-U-tekening
Producttype-USpecificatie
Maattype U |
M5 |
M6 |
M8 |
M10 |
M12 |
M14 |
M16 |
|
Da max |
6.2 |
7.5 |
10.0 |
12.5 |
15.2 |
17.7 |
20.5 |
|
Dv max |
5.5 |
6.6 |
8.8 |
10.8 |
12.8 |
14.8 |
17.2 |
|
Ds min |
in het kort |
4.36 |
5.21 |
7.04 |
8.86 |
10.68 |
12.50 uur |
14.50 uur |
Max |
1.4 |
1.6 |
2.1 |
2.1 |
2.1 |
2.1 |
3.2 |
|
R3 |
maximaal |
0,25 |
0,26 |
0,36 |
0,45 |
0,54 |
0,63 |
0,72 |
min |
0,10 |
0,11 |
0,16 |
0,20 |
0,24 |
0,28 |
0,32 |
|
V |
maximaal |
0,15 |
0,20 |
0,25 |
0,30 |
0,35 |
0,45 |
0,50 |
min |
0,05 |
0,05 |
0,10 |
0,15 |
0,15 |
0,20 |
0,25 |
|
Ondersteuning van klantaanpassing |
||||||||
Een introductie over ons bedrijf
Sollicitatie
Onze producten worden veel gebruikt in de mechanische, elektrische, automobiel-, bouwconstructies, spoorwegen, bruggen, stoomschepen, brandbeveiligings- en communicatiesystemen, enz.
Werkplaats
Certificering
Door middel van wetenschappelijk management heeft Jinan Star Fastener Co., Ltd. de 2015-versie van de ISO9001-certificering van het kwaliteitsmanagementsysteem verkregen. In 2017 slaagde het laboratorium voor de nationale CNAS-certificering. In 2018 slaagde het bedrijf voor de Europese CE-certificering.
Uitrusting testen
Ons bedrijf beschikt over een gespecialiseerd laboratorium met digitale hardheidstesters, microscopen, universele testmachines, axiale krachtmeters, detectieapparatuur voor waterstofverbrossing, magnetische deeltjesfoutdetectoren, metallografische analysatoren, koolstof- en zwavelanalysatoren en zoutsproeitestmachines, enz. Experimentele testapparatuur is gebruikt voor uitgebreide tests van de chemische samenstelling van grondstoffen, producthardheid, mechanische eigenschappen, laagdikte en corrosieweerstand om ervoor te zorgen dat alle producten aan de standaardvereisten voldoen en klanten tevreden stellen.
Productieapparatuur
Ons bedrijf beschikt over meer dan 300 productieapparatuur. Het productieproces van het product omvat: gloeien, gritstralen, koude kop, draadwalsen, warmtebehandeling, galvaniseren, testen van het eindproduct, verpakking, enz. worden allemaal in het bedrijf voltooid.
Inpakken
Dienst
1.Productaanpassing en -ontwikkeling: Star kan gepersonaliseerde productaanpassingsdiensten leveren op basis van de specifieke behoeften van klanten. Dit omvat productontwerp en -ontwikkeling op basis van de toepassingsomgeving, materiaalvereisten, maatspecificaties en andere parameters om aan de specifieke behoeften van klanten te voldoen.
2. Groothandel in standaardonderdelen: Star biedt doorgaans groothandelsdiensten voor standaardonderdelen, zodat klanten snel de benodigde producten kunnen kopen. Dit omvat het verstrekken van gedetailleerde productinformatie en voorraadstatus, zodat klanten gemakkelijk bestellingen kunnen opvragen en plaatsen. Tegelijkertijd werkt de fabrikant samen met een aantal logistieke bedrijven om ervoor te zorgen dat de producten veilig en op tijd bij de klanten kunnen worden afgeleverd.
FAQ
1. Kunt u een prijslijst sturen?
Zeker. Laat hier uw e-mailadres achter en wij sturen u binnen 2 kantooruren een prijslijst toe.
2. Hoe controleert u uw kwaliteit?
We vereisen dat QC elke productielink van elke partij goederen inspecteert. We kunnen u een MTC- en fabriekscertificaat bezorgen nadat de goederen zijn voltooid.
3.Kan ik enkele monsters krijgen?
Voor nieuwe klanten kunnen we gratis standaardbevestigingsmonsters leveren, maar klanten betalen de uitdrukkelijke kosten. Voor oude klanten sturen wij u gratis monsters en betalen wij zelf de uitdrukkelijke vergoeding.












